欢迎访问 城市管理网!

当前所在:首页 > 公众参与

致徐汇区纳统企事业单位的一封信

时间:2024-07-12 01:11:02 作者:佚名来源:上海市人民政府

  致徐汇区纳统企事业单位的一封信

  徐汇区纳统企事业单位:

  根据国家统计局、上海市统计局统一安排,2024年8月开始统计报表将转换至新平台(上海市统计云联网直报系统)报送。

  在7月15-19日期间,将开展统计云联网直报系统平台试填报工作,请各单位统计负责人和统计填报人员认真学习相关材料,并在新系统中对6月统计报表进行试填报。自8月1日起,启用统计云联网直报系统平台进行统计数据正式填报。

  在试填报期间,各单位有任何疑问,均可与所在地街镇统计部门沟通(联系方式见下表)。

  统计云联网直报系统:https://tjy.tjj.sh.gov.cn

  感谢对国家统计事业的理解和支持!

  上海市徐汇区统计局

  2024年7月

  徐汇区各街镇统计部门联系方式

  640.png

  试用系统图文教程

  系统登录

  试用系统登录网址:https://tjy.tjj.sh.gov.cn

  主账号用户名:18位统一社会信用代码

  主账号初始密码:由直管统计机构提供

  注:主账号用户名和密码由系统创建,子账号用户名和密码由主账号创建。

  640 (1).png

  输入用户名和密码,点击登录,在弹出界面,选择手机号码,点击获取验证码,输入短信验证码并登录。

  如无手机号显示,请联系对应统计机构配置手机号码。

  640 (2).png

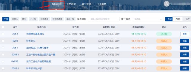
  查看报表

  点击【数据直报】,显示企业所需填报的报表列表。

  640 (3).png

  填报报表

  点击【填报】,跳转到报表填报页面,根据表样内容填报相关指标数据,填报完成,点击【审核并上报】。

  640 (4).png

  填报方式

  1.直接在网页上填报

  2.导出Excel,线下填写完成后再导入

  点击【导出】选择导出数据,下载Excel文件,表样不可修改,只可以填写在网页上能够编辑的单元格。

  填写完成,点击【导入】,将Excel文件导入系统中,导入时会校验统一社会信用代码等关键信息。

  640 (4).png

  【初始化报表】仅支持报表上报前使用。初始化至首次打开报表的状态,只包含预制数据。

  【数据对比】支持选择往期的报表,与当前报表进行数据对比。

  【暂存】仅支持报表上报前使用,暂存已经填写的数据,并非上报。

  640 (6).png

  点击【审核】,对于未通过审核的指标会出现审核错误提示。右侧公式与表内指标联动,点击具体错误说明可定位到表内指标。

  审核规则全部满足后,系统会提示“审核完成”,可执行上报。

  审核错误分为4类:

  A类为强制性审核,指标必须修改正确才能上报;

  B类为准强制性,解决办法有两种,一是联系对应统计机构进行审核降级操作,二是修改至满足公式要求;

  C类为说明性审核,验证填报数据无误后需要填写说明才能上报;

  D类为提示性错误,确认指标无误后可直接上报。

  640 (7).png

  账号管理

  【主账号个人信息及密码修改】支持修改手机号、邮箱及密码。统计机构负责设置及修改主账号接收短信验证码的手机号。

  【管理子账号】可新增子账号的用户名称、用户密码和手机号码,并设置子账号状态。

  640 (8).png

  (来源:上海徐汇官方微信 文稿:区统计局)


原文链接:https://www.shanghai.gov.cn/nw17239/20240711/a182d44026404a97907af64babcc9e68.html
[免责声明] 本文来源于网络转载,仅供学习交流使用,不构成商业目的。版权归原作者所有,如涉及作品内容、版权和其它问题,请在30日内与本网联系,我们将在第一时间处理。

本网概况 | 联系我们 | 会员服务 | 网站地图 | 免责声明 | 交通项目简介 | 本网招聘

全国政务信息一体化应用平台

本站部分信息由相应民事主体自行提供,该信息内容的真实性、准确性和合法性应由该民事主体负责。城市管理网 对此不承担任何保证责任。
本网部分转载文章、图片等无法联系到权利人,请相关权利人联系本网站索取稿酬。

北京政讯通资讯中心主办 | 政讯通-全国政务信息一体化办公室 主管

城市管理网 w.csgllb.org.cn 版权所有。

京ICP备15026536号-107

联系电话:010-56019687、010-53385910,监督电话:15611852065,违法和不良信息举报电话:010-57028685

第一办公区:北京市东城区建国门内大街26号新闻大厦5层;第二办公区:北京市西城区砖塔胡同56号西配楼

邮箱:jiaotongfzdyzx@163.com    客服QQ:2569439875 通联QQ:3072982632